Anschlagzange mit Einsatz
Die Anschlagzange ohne Einsatz -VAS 1978/1-, mit dem Einsatz für Anschlagzange -VAS 1978/2-, ist Bestandteil vom Leitungsstrang-Reparaturset -VAS 1978- und wird zum Verquetschen der Quetschverbinder bei der Leitungsstrangreparatur eingesetzt.


Hinweis
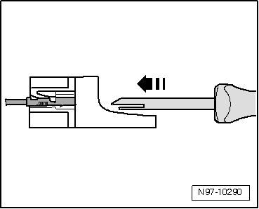
Entriegelungswerkzeuge für Kontakte
Die verschiedenen Entriegelungswerkzeuge dienen dem zerstörungsfreien Entnehmen der unterschiedlichen Kontakte aus den Kontaktgehäusen.
Eine Auswahl an Entriegelungswerkzeugen sind Bestandteil vom Leitungsstrang-Reparaturset -VAS 1978- und vom Leitungsstrang-Reparaturset -VAS 1978A-. Den vollständigen Satz Entriegelungswerkzeuge enthält das Entriegelungswerkzeugset -VAS 1978/35-.
ACHTUNG!
Einige Werkzeuge verfügen über einen Werkzeugsicherungsbügel, dieser ist nach Gebrauch des Werkzeugs über die Werkzeugspitze zu schieben, um den Mitarbeiter vor Verletzungen und die Werkzeugspitze vor Beschädigungen zu schützen.
Entriegeln und Zerlegen von Kontaktgehäusen.

Montagewerkzeuge für Einzelleitungsabdichtungen
Die Montagewerkzeuge dienen dazu die Einzelleitungsabdichtungen ohne Beschädigungen bis zum Anschlag in das Kontaktgehäuse schieben zu können, um damit die vollständige Dichtigkeit zwischen Einzelleitung und Kontaktgehäuse zu erreichen.
Vier Montagewerkzeuge für Einzelleitungsabdichtungen sind jeweils Bestandteil vom Leitungsstrang-Reparaturset -VAS 1978 B- und Vorgängern.
Montage von Einzelleitungsabdichtungen.

Abisolierzange -VAS 1978/3-
Die Abisolierzange -VAS 1978/3- dient dem fachgerechten Abisolieren und Trennen von Leitungen.
Die Abisolierzange -VAS 1978/3- ist Bestandteil vom Leitungsstrang-Reparaturset -VAS 1978 B- und von den Vorgängern.
Die Abisolierzange hat in ihrem Zangenmaul einen einstellbaren Anschlag, mit dem die gewünschte Länge der zu entfernenden Leitungsisolierung eingestellt werden kann.
Abisolieren:
- Stellen Sie den verschiebbaren Anschlag im Zangenmaul auf das gewünschte Maß der abzuisolierenden Länge ein.

- Stecken Sie das Leitungsende von vorn bis zum Anschlag in das Zangenmaul und drücken Sie die Zange vollständig zusammen.
- Öffnen Sie die Zange wieder und entnehmen Sie das abisolierte Leitungsende.

- Trennen Sie Leitungen ggf. mit der Seitenschneiderfunktion auf der Oberseite der Abisolierzange.

Heißluftgebläse, 220 V/ 50 Hz -VAS 1978/14-
Vorsicht!
Achten Sie beim Schrumpfen der Quetschverbinder darauf, dass mit der heißen Düse vom Heißluftgebläse keine anderen Leitungen, Kunststoffteile oder Dämmmaterial beschädigt werden.
Beachten Sie unbedingt die Bedienungsanleitung des Heißluftgebläses!
Das Heißluftgebläse, 220 V/ 50 Hz -VAS 1978/14- wird in Verbindung mit dem Schrumpfaufsatz für Heißluftgebläse -VAS 1978/15- zum Schrumpfen der Quetschverbinder eingesetzt. Nach dem Quetschen muss der Quetschverbinder mit dem Heißluftgebläse geschrumpft werden, um das Eindringen von Feuchtigkeit zu verhindern.
Das Heißluftgebläse, 220 V/ 50 Hz -VAS 1978/14- ist Bestandteil vom Leitungsstrang-Reparaturset -VAS 1978 B- und von den Vorgängern.
Quetschverbinder mit dem Heißluftgebläse, 220 V/ 50 Hz -VAS 1978/14- schrumpfen , oder.

Crimpzange -VAS 1978/1A-
Die Crimpzange -VAS 1978/1A- oder die Crimpzange (Grundkörper) -VAS 1978/1-2- zusammen mit dem Wechselkopf 0,35-2,5mm/2 -VAS 1978/1-1-, oder dem Wechselkopf 4,0-6,0mm/2 -VAS 1978/2A- wird zum Verpressen der Quetschverbinder aus den Leitungsstrang-Reparatursets verwendet.
Verpressen der Quetschverbinder mit der Crimpzange -VAS 1978/1A-.
Folgende Wechselköpfe sind für die Crimpzange (Grundkörper) -VAS 1978/1-2- erhältlich:
In Verbindung mit dem Wechselkopf JPT-Kontakt -VAS 1978/9-1- wird die Crimpzange zum Aufcrimpen von Kontakten auf Einzelleitungen bei der Reparatur von Leitungsquerschnitten bis 0,35 mm 2 eingesetzt.
Wechselkopf austauschen:
- Öffnen Sie die Crimpzange vollständig.

- Rasten Sie die beiden Verriegelungsstifte -Pfeile- aus dem Grundkörper der Crimpzange aus.

- Setzen Sie den benötigten Wechselkopf von oben -Pfeil- in den Grundkörper der Crimpzange ein.

- Verriegeln Sie den Wechselkopf durch das Eindrücken der Stifte -Pfeile- in den Grundkörper der Crimpzange.

Leitungsstrang-Reparaturset -VAS 1978-
Das Leitungsstrang-Reparaturset -VAS 1978- ermöglicht eine optimale Reparaturqualität
im Bereich der Fahrzeugelektrik. Mit den Werkzeugen können Reparature ...
Hinweis
Beachten Sie die allgemeinen Hinweise zur Reparatur an der Fahrzeugelektrik
Hinweise zur Reparatur von Airbag- und Gurtstrafferleitungen
Ergänzend zu der allgemeinen Reparatur ...
Siehe auch:
Kindersitz mit Sicherheitsgurt befestigen
Lesen und beachten Sie zuerst die einleitenden Informationen
und Sicherheitshinweise⇒Einleitung
zum Thema Wenn Sie einen Kindersitz der Zulassungskategorie universal (u)
in Ihrem Fahrzeug verwenden wollen, stellen Sie sicher, dass dieser für die S ...