Schlauchkupplungen der Waschwasserleitungen
Folgende Schlauchkupplungsarten werden zum Anschluss der Schläuche an Pumpen und Spritzdüsen bzw. als Trennstellen verwendet:
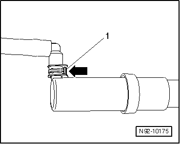
Front- und Heckscheibenwaschanlage
- Zum Lösen des Anschlusses beide Kupplungsteile auseinanderziehen (keine Sicherung).
- Zum Befestigen des Anschlusses beide Kupplungsteile fest zusammendrücken, bis diese hör- und fühlbar verrasten.

- Zum Lösen des Anschlusses den Sicherungsring -1- um 90º verdrehen -Pfeil- und den Schlauchanschluss abziehen.
- Zum Befestigen des Anschlusses den Schlauchanschluss aufstecken und den Sicherungsring -1- verdrehen -Pfeil-, bis dieser verrastet.

- Zum Lösen des Anschlusses den Sicherungsclip -1- ca. 1 mm hochziehen -Pfeil- und den Schlauchanschluss abziehen.
- Zum Befestigen des Anschlusses den Schlauchanschluss aufstecken und den Sicherungsclip -1- eindrücken, bis dieser verrastet.
- Zum Befestigen des Anschlusses den Schlauchanschluss aufstecken und den Sicherungsclip -1- eindrücken, bis dieser verrastet.

- Zum Lösen des Anschlusses den Sicherungsclip -1- hochziehen -Pfeil- und den Schlauchanschluss abziehen.
- Zum Befestigen des Anschlusses den Schlauchanschluss aufstecken und den Sicherungsclip -1- eindrücken, bis dieser verrastet.

Scheinwerferreinigungsanlage
- Zum Lösen des Anschlusses den Sicherungsclip -1- drücken -Pfeil- und den Schlauchanschluss abziehen.
- Zum Befestigen des Anschlusses den Sicherungsclip gedrückt halten -Pfeil- und den Schlauchanschluss aufstecken. Prüfen Sie das sichere Verrasten des Sicherungsclips durch einen Abziehversuch ohne den Clip zu drücken.

Schlauchreparatur
Für die Reparatur von Schläuchen der Waschanlagen wurde ein Reparaturkonzept entwickelt. Als Ersatzteile werden verschiedene Anschlussstücke, spezielle EPDM-Schläuche (Ethylene Propylene Diene Monomer) sowie Schrumpfschlauch angeboten.
Allgemeine Beschreibung
Reparaturlösung für Glattrohr
Repariert werden können Glattrohre mit Durchmesser 5x1 mm oder 6x1 mm mit EPDM-Schlauch.
- Schneiden Sie die schadhafte Stelle gerade aus dem zu reparierenden Glattrohr heraus.
- Wählen Sie den passenden EPDM-Schlauch -2- und Kabelbinder nach dem Elektronischen Teilekatalog (ETKA) aus.
- Längen Sie den EPDM-Schlauch -2- so ab, dass Sie die Glattrohrenden -1- und -3- jeweils circa 10 mm in den EPDM-Schlauch -2- einschieben können.

- Sichern Sie die Reparaturstelle mit Kabelbindern -1-.

Reparaturlösung für Wellrohr
Benötigte Spezialwerkzeuge, Prüf- und Messgeräte sowie Hilfsmittel
Hinweis

- Schneiden Sie die schadhafte Stelle gerade aus dem zu reparierenden Wellrohr heraus.
- Wählen Sie die passenden Anschlussstücke -2- und -3- sowie passenden Schrumpfschlauch nach dem Elektronischen Teilekatalog (ETKA) aus.
- Erwärmen Sie das Ende des Wellrohrs -1-.
- Drücken Sie das Anschlussstück -2- in das Wellrohr -2- hinein -Pfeil A-.
- Erwärmen Sie das Ende des Wellrohrs -4-.
- Drücken Sie das Anschlussstück -3- in das Wellrohr -4- hinein -Pfeil B-.

- Längen Sie den Schrumpfschlauch so ab, dass das Wellrohr an beiden Seiten mindestens 20 mm -Maß x- durch den Schrumpfschlauch überdeckt wird.
- Schieben Sie den Schrumpfschlauch über das Wellrohr, verkuppeln Sie die Anschlussstücke und sichern Sie die Reparaturstelle mit dem Schrumpfschlauch.

Unterscheidungsmerkmale gelenkfreier Wischerblätter
Unterscheidungsmerkmale der Firmen Bosch und Federal Mogul.
Beim Ersetzen der Wischergummis ist auf die Herstellerfirma zu achten. Es muss beim Ersetzen der Wischerblätter derselbe Hersteller verwendet werden.
Die Wischerblätter können anhand der Befestigung für den Wischerarm identifiziert werden.
Wischerblätter der Firma Bosch -1 und 2-:

Wischerblatt der Firma Federal Mogul -1-:

Erhaltungsladung mit dem Solarpanel -VAS 6102A-
Solarpanel VAS 6102A
Allgemeine Beschreibung:
Das Solarpanel -VAS 6102A- unterstützt das Bordnetz und verhindert das Selbstentladen
der Batterie.
...
Anwendungs- und Sicherheitshinweise für Gasentladungslampen
- Werden Montagearbeiten an dem Scheinwerfer mit Gasentladungslampen durchgeführt,
beachten Sie Folgendes:
Hinweise auf gefä ...
Siehe auch:
Sollwerte für Bremskraftprüfung gemäß nationalerGesetzgebung
Bremskraftprüfung
Rechtliche Grundlage
Mit Änderung der EU Vorschriften zur Überwachung im Verkehr befindlicher Fahrzeuge
(RiLi 2009/40/EG und 2010/48/EU) wurde eine entsprechende Anpassung des 29 StVZO
(Straßenverkehrs- Zulassungsverordnung) "Untersuchun ...