Schaltermodul Lenksäule aus- und einbauen
Benötigte Spezialwerkzeuge, Prüf- und Messgeräte sowie Hilfsmittel

Allgemeine Beschreibung
Folgende Bauteile sind ausstattungsabhängig in den Lenkstockschalter integriert:
Bei einem Defekt an einem der oben genannten Bauteile ist der komplette Lenkstockkombinationsschalter zu ersetzen.
Die Wickelfeder für Airbag und Rückstellring mit Schleifring -F138- ist lösbar am Lenkstockschalter befestigt und einzeln zu ersetzen → Karosserie-Montagearbeiten Innen.
Fehlererkennung und Fehleranzeige
Folgende Bauteile sind eigendiagnosefähig:
Ausbauen
- Batterie abklemmen.
- Das Lenkrad in "Mittelstellung" drehen (Räder in "Geradeausstellung").
- Lenkrad ausbauen → Fahrwerk, Achsen, Lenkung.
- Die Lenksäule über die Lenksäulenverstellung in die tiefste Position bringen und mit dem Feststellhebel arretieren.
- Lenksäulenverkleidung ausbauen → Karosserie-Montagearbeiten Innen.

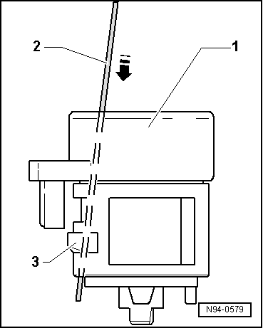
- Die Befestigungsschraube -Pfeil- vom Lenkstockschalter -1- lösen.

- Sicherungsriegel -2- in -Pfeilrichtung B- nach oben ziehen und den Stecker -1- vom Lenkstockschalter -3- abziehen.
- Lenkstockschalter -3- von der Lenksäule nach hinten abziehen.
Einbauen
Der Einbau erfolgt sinngemäß in umgekehrter Reihenfolge, dabei Folgendes beachten:
- Wurde die Wickelfeder ausversehen aus der Mittelstellung verdreht, kann durch Vorsichtiges drehen von Anschlag zu Anschlag und zählen der Umdrehungen die Mittelstellung neu ermittelt werden.
- Ist der Lenkwinkelgeber -G85- in die Wickelfeder für Airbag und Rückstellring mit Schleifring -F138- integriert (Fahrzeuge mit EPS = electric power steering und ESP), die Grundeinstellung des Lenkwinkelgebers durchführen.

Wickelfeder für Airbag und Rückstellring mit Schleifring -F138- aus und einbauen
Ausbauen
- Batterie abklemmen.
- Das Lenkrad in "Mittelstellung" drehen (Räder in "Geradeausstellung").
- Lenkrad ausbauen → Fahrwerk, Achsen, Lenkung.
- Die Lenksäule über die Lenksäulenverstellung in die tiefste Position bringen und mit dem Feststellhebel arretieren.
- Lenksäulenverkleidung ausbauen → Karosserie-Montagearbeiten Innen.
Lenkwinkelgeber -G85- aus und einbauen
Der Lenkwinkelgeber ist ausstattungsabhängig verbaut.
Der Lenkwinkelgeber -G85- ist in die Wickelfeder integriert und bildet ein Bauteil.
- Lenkwinkelgeber -G85- ausbauen, siehe Wickelfeder für Airbag und Rückstellring mit Schleifring -F138- aus und einbauen
Zündanlassschalter aus- und einbauen
Ausbauen
- Batterie abklemmen.
- Lenkstockkombinationsschalter -E595- ausbauen.
- Primärverriegelung -2- ziehen, Stecker -1- entriegeln und vom Zündanlassschalter -D- abziehen.

- Den Sicherungslack der beiden Klemmschrauben -2- entfernen.
- Die beiden Klemmschrauben -2- etwas lösen und den Zündanlassschalter -D--1- in -Pfeilrichtung- aus dem Lenkschlossgehäuse herausziehen.
Einbauen
- Den Zündanlassschalter in das Lenkschlossgehäuse hineinschieben.
Beim Einbau des Zündanlassschalters ist darauf zu achten, dass sich Zündanlassschalter und Schließzylinder in der gleichen Stellung, z. B. "Zündung ein", befinden.
- Die Klemmschrauben anziehen und mit Sicherungslack versiegeln.
- Den Stecker am Zündanlassschalter aufstecken und die Primärverriegelung einschieben.
- Alle Bauteile sinngemäß in umgekehrter Reihenfolge einbauen.

Zündanlassschalter prüfen
- Fahrzeugdiagnosetester anschließen.
- Im Fahrzeugdiagnosetester die Betriebsart "Geführte Fehlersuche" wählen.
- Über die Taste "Sprung" die "Funktions-/Bauteilauswahl" und nacheinander folgende Menüpunkte anwählen:
Schließzylinder aus- und einbauen
Ausbauen
- Batterie abklemmen.
- Lenkrad ausbauen → Fahrwerk, Achsen, Lenkung.
- Lenksäulenverkleidung ausbauen → Karosserie-Montagearbeiten Innen.
- Den Stecker -Pfeil- der Lesespule für Wegfahrsicherung -D2- am Schließzylinder entriegeln und abziehen.
Die Lesespule für Wegfahrsicherung -D2- ist am Schließzylinder befestigt und kann nicht einzeln ersetzt werden.

- Den Zündschlüssel in den Schließzylinder stecken und in Position "Fahrt" drehen.
Schlüsselstellungen des Schließzylinders:
Hinweis

Aus Gründen der Übersichtlichkeit zeigt die folgende Abbildung einen ausgebauten Schließzylinder ohne Zündschlüssel.
- Einen Stahldraht (ca. Ø 1,2 mm) in die Bohrung -Pfeil- neben dem Zündschlüssel einstecken.
- Mit dem Stahldraht -2- den Sicherungshebel -3- des Schließzylinders -1- entriegeln -Pfeil-.
- Den Schließzylinder -1- aus dem Lenkschlossgehäuse herausziehen.
Einbauen
Der Zündschlüssel ist in der folgenden Abbildung aus Gründen der Übersichtlichkeit nicht dargestellt.
- Den Zündschlüssel in den Schließzylinder stecken und in Position "Fahrt" drehen.
- Mit dem Stahldraht -2- den Sicherungshebel -3- des Schließzylinders -1- entriegeln -Pfeil-.
- Den Schließzylinder -1- in das Lenkschlossgehäuse einsetzen.
Der Anschluss für die Lesespule der Wegfahrsicherung muss in die Führung am Lenkschlossgehäuse eingesetzt werden.
- Den Stahldraht -2- aus dem Schließzylinder -1- herausziehen und den Schließzylinder auf festen Sitz im Lenkschlossgehäuse prüfen.

- Den Stecker -Pfeil- an die Lesespule für Wegfahrsicherung -D2- am Schließzylinder aufstecken.
- Alle Bauteile sinngemäß in umgekehrter Reihenfolge einbauen.

Lenkschlossgehäuse aus- und einbauen
Zum Ab- und Anklemmen der Batterie muss die im Reparaturleitfaden beschriebene Vorgehensweise eingehalten werden.
Benötigte Spezialwerkzeuge, Prüf- und Messgeräte sowie Hilfsmittel
Ausbauen
Für den Ausbau des Lenkschlossgehäuses müssen die Abreißschrauben ausgebohrt werden. Für den späteren Einbau werden neue Abreißschrauben benötigt → ETKA (Elektronischer Teilekatalog).
- Batterie abklemmen.
- Schalttafeleinsatz ausbauen.
- Lenkstockkombinationsschalter ausbauen.
- Schließzylinder ausbauen.
- Zündanlassschalter ausbauen.
Gefahr von Augenverletzung durch Bohrspäne.
Beim Ausbohren können Bohrspäne umherfliegen, die zu Augenverletzungen führen können.
Schutzbrille verwenden.

- Befestigungsschraube -1- herausschrauben und Leitung abnehmen.
- Die Abreißschrauben -Pfeile- des Lenkschlossgehäuses -2- ausbohren.
Schrauben M8 -Pfeile-, Kernlochdurchmesser 6,8 mm.
- Das Lenkschlossgehäuse -2- nach hinten von der Lenksäule abziehen.

Einbauen
- Das Lenkschlossgehäuse -2- gerade bis zum Anschlag auf die Lenksäule aufschieben und zu den Gewindebohrungen ausrichten.
- Das Lenkschlossgehäuse -2- mit neuen Abreißschrauben -Pfeile- an der Lenksäule verschrauben.
- Die neuen Abreißschrauben -Pfeile- anziehen, bis die Schraubenköpfe abreißen.
- Leitung mit Befestigungsschraube -1- festschrauben.
- Alle Bauteile sinngemäß in umgekehrter Reihenfolge einbauen.

Kennzeichenleuchte -X4-/-X5- aus- und einbauen
HinweisBeim Aus- und Einbau von Bauteilen im Sichtbereich (Schaltern, Abdeckungen,
Verkleidungen usw.) sind die Bereiche, an denen ein Hebelw ...
Montageübersicht - Einparkhilfe
Geber für Einparkhilfe in der hinteren Stoßfängerabdeckung
Geber für Einparkhilfe, hinten links -G203-
Geber für Einparkhilfe hinten Mitte -G796-
...
Siehe auch:
Informationen zu Felgen
Aufbau - Felge
Felgenhorn
Anschlag für die seitliche Reifenwulst
Hump (H2) auf beiden Felgenschultern
verhindert bei starker Kurvenfahrt das Abrutschen des Reifens von der
Felgenschulter
erhöhter Hump (EH2) bei Verwendung von Reifen mit ...