Hinweise zur Reparatur von Kontaktgehäusen und Steckverbindungen
Hinweis
Reparatur von Kontakten in Kontaktgehäusen
- Öffnen oder entriegeln Sie ggf. zuerst die Sekundärverriegelung des Kontaktgehäuses.
- Entriegeln Sie den Kontakt (Primärverriegelung) mit dem passenden Entriegelungswerkzeug.
- Ziehen Sie den Kontakt an der Einzelleitung aus dem Kontaktgehäuse.
- Nehmen Sie die gelbe Reparaturleitung mit dem richtigen Kontakt aus dem Leitungsstrang-Reparaturset.
- Legen Sie die Reparaturstelle des fahrzeugeigenen Leitungsstrangs frei (ca. 20 cm zu beiden Seiten der Reparaturstelle).
- Falls nötig, entfernen Sie die Umwicklung des Leitungsstrangs unter Verwendung des Klappmessers.

- Stecken Sie den neuen Kontakt der Reparaturleitung in das Kontaktgehäuse, bis er verrastet.
- Schieben Sie eine Einzelleitungsabdichtung auf die Reparaturleitung auf.
Hinweis
Der kleine Durchmesser der Einzelabdichtung muss dabei zum Kontaktgehäuse zeigen.
- Schieben Sie die Einzelleitungsabdichtung unter Verwendung des richtigen Montagewerkzeugs in das Kontaktgehäuse ein.

- Kürzen Sie die Reparaturleitung und die Einzelleitung des fahrzeugeigenen Leitungsstrangs entsprechend Ihren Bedürfnissen mit der Abisolierzange -VAS 1978/3-.

- Isolieren Sie die Leitungsenden der Reparaturleitung und der fahrzeugeigenen Einzelleitung mit der Abisolierzange 6 - 7 mm ab.
- Verquetschen Sie die abisolierten Enden von Reparaturleitung- und Einzelleitung des fahrzeugeigenen Leitungsstrangs mit der Crimpzange und einem Quetschverbinder, wie im Kapitel "Leitungsunterbrechungen mit einzelner Reparaturstelle" beschrieben.
Hinweis


Montage von Einzelleitungsabdichtungen
Hinweis
Montage der Einzelleitungsabdichtung:
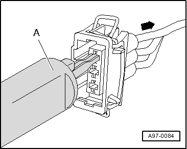
- Klinken Sie mit dem passenden Entriegelungswerkzeug -A- die Kontaktverrastung aus und ziehen Sie anschließend die Leitung mit der Einzelleitungsabdichtung nach hinten -Pfeil- aus dem Kontaktgehäuse heraus.

- Schneiden Sie den alten Kontakt mit der Einzelleitungsabdichtung vom fahrzeugeigenen Leitungsstrang ab.

- Schieben Sie die Reparaturleitung mit dem neuen Kontakt in die entsprechende Kammer des Kontaktgehäuses ein, bis er verrastet.

- Stecken Sie die Einzelleitungsabdichtung -A- auf das freie Ende der Reparaturleitung auf.
Hinweis
Der kleine Durchmesser der Einzelleitungsabdichtung muss dabei zum Kontaktgehäuse zeigen.
- Schieben Sie die Einzelleitungsabdichtung -A- auf der Reparaturleitung bis zum Kontaktgehäuse.

- Schieben Sie die Einzelleitungsabdichtung -A- mit dem entsprechenden Montagewerkzeug -B- bis zum Anschlag in das Kontaktgehäuse ein.

- Kürzen Sie die Reparaturleitung und die Einzelleitung des fahrzeugeigenen Leitungsstrangs entsprechend Ihren Bedürfnissen mit der Abisolierzange -VAS 1978/3-.
- Verquetschen Sie die abisolierten Enden von Reparaturleitung- und Einzelleitung des fahrzeugeigenen Leitungsstrangs mit der Crimpzange und einem Quetschverbinder, wie im Kapitel "Leitungsunterbrechungen mit einzelner Reparaturstelle" beschrieben.

Reparatur von Kontaktgehäusen in Schneidklemmtechnik
Hinweis

Die genaue Fehlerstelle ist sehr schwer zu finden. Der beschädigte Lichtwellenleiter
ist zu ersetzen, indem eine neue Leitung parallel zum defekten Lichtwellenleiter
verlegt wird.
Hin ...
Hinweise zum Entriegeln und Zerlegen von Kontaktgehäusen
Hinweis
Beachten Sie die allgemeinen Hinweise zur Reparatur an der Fahrzeugelektrik.
Verwenden Sie immer die zum Entriegeln ...
Siehe auch:
Fahrer- und Beifahrertür manuell ent- oder verriegeln
Abb. 141 Türgriff an der Fahrertür mit
Schließzylinder.
Lesen und beachten Sie zuerst die einleitenden Informationen
und Sicherheitshinweise⇒Einleitung
zum Thema Beim manuellen Verriegeln werden in der Regel alle Türen verriegelt. ...