Einflüsse auf die Lebensdauer von Reifen
Die folgenden Faktoren beeinflussen die Lebensdauer eines Reifens in unterschiedlicher Intensität.
Fahrweise:
Wartung:
Umgebung:
Fahrzeug:
Reifeneinsatz:
Reifenbauart:
Winter/Sommer
Änderungen am Fahrwerk:
Werden "Tieferlegungs- Kit" und/oder Leichtmetallräder vom Zubehör verwendet, die nicht vom Fahrzeughersteller freigegebenen sind, kann es zu Radstellungen kommen, die von der konstruktiv vorgegebenen Radstellung beim Fahren abweichen.
Auch wenn die Einstellung der Achsgeometrie während der Fahrzeugvermessung, bei stehendem Fahrzeug in Ordnung ist, kann es durch die veränderte Standhöhe und Position der Räder im Fahrbetrieb zu einem veränderten Bewegungsablauf der Radaufhängung kommen.
Der ungleichmäßige Verschleiß ist damit vorprogrammiert.
Sägezahnbildung
Sägezahn ist eine stufenförmige Abnutzung der einzelnen Profilblöcke , wodurch ein erhöhtes Abrollgeräusch entstehen kann. Der Sägezahn entsteht durch ungleichmäßige Verformung der Profilblöcke in der Reifenaufstandsfläche. An nicht angetrieben Rädern tritt der Sägezahn ausgeprägter auf, als an angetriebenen Rädern.
Bei neuen Reifen ergibt sich eine stärkere Neigung zur Sägezahnbildung, weil die hohen Profilblöcke eine stärkere Elastizität haben. Mit abnehmender Profiltiefe erhöht sich die Steifigkeit der Profilblöcke, die Neigung zur Sägezahnbildung lässt nach.
Aussehen des Sägezahnes
Bei ausgeprägter Sägezahnbildung, kann dies zu Geräuschbeanstandungen führen.
Verstärkte Sägezahnbildung tritt auf bei:
Nicht laufrichtungsgebundene Reifen
Bei auftretendem Sägezahn muss die Laufrichtung des Reifens umgedreht werden. Kommt es zur verstärkten Sägezahnbildung und erhöhtem Abrollgeräuschen, ist ein Radwechsel über Kreuz durchzuführen. Dies bewirkt einen Abbau des Sägezahns.
Bei Fahrzeugen mit Frontantrieb wird dieser Effekt durch höheren Abrieb an der Vorderachse verstärkt.
Das Reifenabrollgeräusch ist unmittelbar nach dem Rädertausch noch etwas lauter, nach einer Laufleistung von ca. 500...1000 km wird das normale Geräuschniveau wieder erreicht.
Laufrichtungsgebundene Reifen
Bei erhöhtem Sägezahn an den Reifen der Hinterachse - vorrangig bei Frontantrieb - ist ein Wechsel von hinten nach vorne durchzuführen. Bei verstärktem Sägezahn an den Aussenkanten auf einer Achse, sind beide Reifen auf der Felge zu wenden. Anschließend muss das linke Rad auf der rechten Seite und das rechte Rad auf der linken Seite montiert werden.

Verschleißverhalten von Hochgeschwindigkeitsreifen
Diese Reifen sind für höchste Geschwindigkeiten ausgelegt. Bei der Entwicklung dieser Reifen steht deshalb eine gute Haftung auf nassen Fahrbahnen im Vordergrund. Diese Laufflächenmischungen haben nicht die Abriebfestigkeiten wie T-, H-Reifen für geringere Geschwindigkeiten.
Deshalb ist die Lebenserwartung von Hochgeschwindigkeitsreifen bei vergleichbaren Einsatzbedingungen erheblich geringer.
Profiltiefe messen
Die Profiltiefe messen Sie in den Hauptprofilrillen an den am stärksten verschlissenen Stellen des Reifens. Die Positionen der TWI-Indikatoren sind an der Reifenschulter sichtbar.
Anstelle "TWI" kann auch ein "Δ" oder das "Firmenlogo" des Herstellers stehen.
Die TWI-Erhebungen sind 1,6 mm hoch. Dies ist die in der Bundesrepublik Deutschland gesetzlich vorgeschriebene Mindest-Profiltiefe.
In anderen Ländern können andere Werte gelten.

Die TWI-Indikatoren dürfen nicht in die Messung einbezogen werden. Für die Messwerte entscheidend ist das Maß an der tiefsten Stelle der Profilrille.

Einseitiger Verschleiß
Ursachen dafür sind in vielen Fällen das Fahrverhalten, aber manchmal auch eine nicht korrekte Achseinstellung.
Erhöhter einseitiger Verschleiß
Einseitiger Verschleiß, meist in Verbindung mit Radiermerkmalen an Profilrippen und Feineinschnitten, tritt immer dann auf, wenn Reifen unter einem extremen Schräglaufwinkel abrollen und deshalb auf der Fahrbahn "radieren".
Schnelles Fahren auf kurvenreichen Strecken führt besonders auf der Außenschulter zu erhöhtem Verschleiß.
Eine abgerundete Reifenaußenschulter in Verbindung mit besonders hohem Verschleiß der äußeren Profilblöcke lässt auf schnelle Kurvenfahrt schließen. Dieses Verschleißbild wird durch den Fahrstil beeinflusst.
Zur Optimierung des Fahrverhaltens wird das Fahrwerk auf bestimmte Spur- und Sturzwerte eingestellt. Wenn die Reifen unter anderen als den vorgegebenen Bedingungen abrollen, muss mit einem einseitigen und erhöhten Verschleiß gerechnet werden.
Besonders bei falschen Spur- und Sturzwerten kann es zu einseitig stärkerem Verschleiß kommen, dazu wächst die Gefahr von diagonalen Auswaschungen.

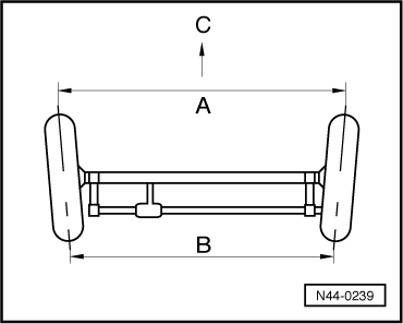
Nachspur oder negative Vorspur
Der Abstand der Räder zueinander ist vorn -A- größer als der Abstand-B- hinten (-C- Fahrtrichtung).

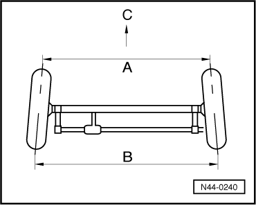
Vorspur oder positive Vorspur
Der Abstand der Räder zueinander ist vorn -A- kleiner als der Abstand -B- hinten (-C- Fahrtrichtung).
Um einseitigen Reifenverschleiß zu vermeiden, muss darauf geachtet werden, dass sich die Radstellung innerhalb der vom Fahrzeughersteller vorgeschriebenen Toleranz befindet. Die häufigste Abweichung der Radeinstellung tritt aufgrund von äußeren Einwirkungen auf, z. B. eine harte Berührung mit dem Bordstein beim Parken.
Bei einer Vermessung der Achsgeometrie kann festgestellt werden, ob die Radeinstellung innerhalb der vorgeschriebenen Toleranzen liegt oder ob eine Korrektur der Radstellung erforderlich ist.
Änderungen am Fahrwerk
Werden "Tieferlegungs-Kit" und/oder Leichtmetallräder vom Zubehör verwendet, die nicht vom Fahrzeughersteller empfohlenen sind, kann es zu Radstellungen kommen, die von der konstruktiv vorgegebenen Radstellung abweichen.
Auch wenn die Einstellung der Achsgeometrie während der Fahrzeugvermessung bei stehendem Fahrzeug in Ordnung ist, kann es durch die veränderte Standhöhe und Position der Räder im Fahrbetrieb zu einem veränderten Bewegungsablauf der Radaufhängung kommen.
Der ungleichmäßige Verschleiß ist damit vorprogrammiert.
Ungeeignete Verwendung der Niveaueinstellungen des Luftfederfahrwerks
Die Verwendung des Offroad-Levels wird nur für das Fahren im Gelände empfohlen! Die permanente Nutzung des Offroad-Levels im normalen Straßenbetrieb kann zu erhöhtem Reifenverschleiß führen, da die veränderte Standhöhe die Radstellung gegenüber dem Straßen-Level verändert.
Um das Auftreten von einseitigem Reifenverschleiß zu verhindern, ist einerseits eine korrekte Einstellung der Achsgeometrie und andererseits ein bestimmungsgemäßer Gebrauch des Fahrzeugs sicherzustellen:
Eine gute Wartung von Fahrzeug und Reifen hilft Reifenverschleiß vorzubeugen. Dabei sind insbesondere die folgenden Hinweise zu beachten:

Außenschulterverschleiß
Ungeeignete Verwendung der Niveaueinstellungen des Luftfederfahrwerks
Die Verwendung des Offroad-Levels wird nur für das Fahren im Gelände empfohlen! Die permanente Nutzung des Offroad-Levels im normalen Straßenbetrieb kann zu erhöhtem Reifenverschleiß führen, da die veränderte Standhöhe die Radstellung gegenüber dem Straßen-Level verändert.
Um das Auftreten von einseitigem Reifenverschleiß zu verhindern, ist einerseits eine korrekte Einstellung der Achsgeometrie und andererseits ein bestimmungsgemäßer Gebrauch des Fahrzeugs sicherzustellen:
Eine gute Wartung von Fahrzeug und Reifen hilft Reifenverschleiß vorzubeugen. Dabei sind insbesondere die folgenden Hinweise zu beachten:
Diagonale Auswaschungen
Diagonale Auswaschungen am Reifen
Diagonale Auswaschungen verlaufen unter einem Winkel von ca. 45º zur Umfangsrichtung.
Sie treten meist einmal auf, können aber auch mehrmals am Reifenumfang auftreten.
Die Auswaschungen treten fast ausschließlich an den nicht angetriebenen Reifen, besonders hinten links, auf. Es gibt Fahrzeugmodelle, bei denen Auswaschungen gehäuft auftreten und solche, die völlig problemlos sind. Verstärkt wird der Effekt durch hohe Spurwerte. Spurwerte, die an der unteren Toleranzgrenze der vorgegebenen Einstellwerte liegen, verbessern das Abriebbild.
Im Bereich der stärksten diagonalen Auswaschungen, befindet sich oft der Zusammenschluss der Reifenbauteile.
Räder mit Vorspur rollen auch bei Geradeauslauf mit einem Schräglaufwinkel ab. Dies führt zu einer diagonalen Verspannung in der Kontaktzone Reifen/Fahrbahn.
Begünstigt wird das Verschleißbild durch Fahren mit Minderdruck. Zur Vermeidung derartiger Verschleißbilder sollten die Spurwerte beider Hinterräder gleich sein und der vorgegebene Luftdruck eingehalten werden.
Wenn Sie Auswaschungen erkennen, sollten Sie die Räder auf der Antriebsachse montieren, sofern die Auswaschungen noch im Anfangsstadium sind. Tiefere Auswaschungen sind irreparabel.
Einstellfehler
Bei der Beanstandung "diagonale Auswaschungen", ist die Einstellung der Spur zu prüfen. Ist sie in Ordnung, liegt die Ursache für die diagonale Auswaschung mit großer Wahrscheinlichkeit im Reifen.
Reifen mit diagonalen Auswaschungen, die durch falsch eingestellte Achsgeometrie an den Rädern entstanden sind, sind von der Gewährleistung ausgeschlossen.

Mittenverschleiß
Dieses Verschleißbild findet man an Antriebsrädern leistungsstarker Fahrzeuge, die oft lange Strecken mit hohen Geschwindigkeiten fahren.
Bei hohen Geschwindigkeiten wächst durch Fliehkraft der Reifendurchmesser in der Laufflächenmitte stärker als in den Schultern. Dadurch werden die Antriebskräfte vom mittleren Bereich der Lauffläche auf die Fahrbahn übertragen. Dies spiegelt sich im Verschleißbild wider.
Besonders ausgeprägt können derartige Erscheinungen bei breiten Reifen auftreten.
Durch eine Verminderung des Reifenfülldruckes kann diesem Verschleißbild nicht entgegen gewirkt werden.
Aus Gründen der Sicherheit darf auf keinen Fall der Reifenfülldruck unter den vorgeschriebenen Reifenfülldruck abgesenkt werden.
Man erreicht ein weitgehend gleichmäßiges Abriebbild, wenn die Räder rechtzeitig von der angetriebenen auf die nicht angetriebene Achse gewechselt werden.
Erhöhter Laufflächenverschleiß
Typisches Abnutzungsbild von Reifen der Antriebsachse eines leistungsstarken Fahrzeuges.
Der höhere Laufflächenmittenverschleiß ergibt sich aus den Beanspruchungen, die mit der Fliehkraft des Reifens und der Übertragung der Antriebskräfte verbunden sind.

Zulässige Profiltiefen-Unterschiede
Technischer Hintergrund der Einschränkungen sind thermische Belastungen des Getriebeöls durch zu große Unterschiede im Abrollumfang der Reifen.
Der Unterschied zwischen Vorder- und Hinterachse darf nicht größer als 3 mm sein.
Beispiel:

Standplatte
Was ist eine Standplatte?
Für den Begriff Standplatte werden auch Begriffe wie Abflachung, Abplattung verwendet.
Standplatten erzeugen ebenfalls Laufunruhe, wie ein nicht korrekt ausge ...
Montageübersicht - Rad
Montageübersicht - Rad, konventionell
Rad
Rad montieren
Radschrauben
unterschiedliche Ausführungen
Reifen
"Informationen zu Rei ...
Siehe auch:
Frontalunfälle und die Gesetze der Physik
Abb. 40 Ein Fahrzeug fährt mit nicht angegurteten
Fahrzeuginsassen auf eine Mauer zu.
Abb. 41 Ein Fahrzeug fährt mit nicht angegurteten
Fahrzeuginsassen an die Mauer.
Lesen und beachten Sie zuerst die einleitenden Informationen
und Sicherheitshinweise& ...