Montageübersicht - Lenkgetriebe

Lenkgetriebe aus- und einbauen

Benötigte Spezialwerkzeuge, Prüf- und Messgeräte sowie Hilfsmittel
Führen Sie folgende Arbeiten durch:
Ausbauen
Nur up!
- Masseband von der Batterie abklemmen → Elektrische Anlage.
Nur e-up!
Fortsetzung für alle Fahrzeuge
- Schrauben -1- herausschrauben und Fußraumverkleidung -2- ausbauen.

- Schraube -Pfeil- vom Kreuzgelenk -1- herausdrehen und Kreuzgelenk in -Pfeilrichtung- abziehen.
- Radschrauben lösen.
- Fahrzeug anheben.
- Räder vorn abbauen.

- Muttern -Pfeile- abschrauben.
- Achslenker aus dem Achsgelenk herausziehen.

- Mutter -1- von Spurstangenkopf -2- lösen, aber noch nicht abschrauben.
Mutter zum Schutz des Gewindes einige Umdrehungen auf dem Zapfen lassen.
- Spurstangenkopf -2- vom Lenkspurhebel abdrücken.

- Sechskantmutter -1- von der Koppelstange rechts und links abschrauben.
- Koppelstange -3- aus dem Stabilisator -2- auf der rechten und linken Seite herausziehen.

- Schrauben -Pfeile- für Lenkgetriebe vom Aggregateträger abschrauben.
- Aggregateträger fixieren.
- Aggregateträger mit Motor- und Getriebeheber -V.A.G 1383 A- absenken.
- Lenkgetriebe nach hinten herausnehmen.
Einbauen
Der Einbau erfolgt in umgekehrter Reihenfolge. Dabei ist Folgendes zu beachten:
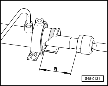
Vor dem Einbau des Lenkgetriebes muss die Zahnstange in die Mittelstellung gestellt werden.

- Zahnstange so weit verschieben, bis das Maß -a- erreicht ist.
Maß -a- = 76,5 mm
Vor dem Ansetzen der Schrauben für den Aggregateträger, Lenkgetriebe auf Aggregateträger positionieren und Schrauben für Lenkgetriebe ansetzen.
- Aggregateträger festschrauben.

- Achsgelenk mit Achslenker mit neuen Muttern -Pfeile- verschrauben.
Auf beschädigungsfreien und nicht verdrillten Dichtbalg achten.

- Lenkgetriebe an Aggregateträger schrauben -Pfeile-.
- Spurstange an Lenkspurhebel schrauben.

- Kreuzgelenk -1- auf das Lenkritzel aufstecken.
- Neue Schraube -Pfeil- einsetzen und festziehen.
Nur up!
- Masseband an der Batterie anklemmen → Elektrische Anlage.
Nur e-up!
Fortsetzung für alle Fahrzeuge
- Räder anbauen und festziehen.
Nach dem Einbau muss während einer Probefahrt die Stellung des Lenkrads geprüft werden.
Steht das Lenkrad schief oder wurde ein neues Lenkgetriebe eingebaut, dann muss die Spur an der Vorderachse geprüft und gegebenenfalls eingestellt werden!
- Spureinstellung prüfen.

Anzugsdrehmomente

Lenkgetriebe in Stand setzen

Spiel, Befestigung und Dichtungsbälge der Spurstangenköpfe prüfen
- Bei angehobenem Fahrzeug (Räder frei hängend), Spiel durch Bewegen der Spurstangen und Räder prüfen. Spiel: spielfrei
- Befestigung prüfen.
- Dichtungsbälge auf Beschädigungen und richtigen Sitz prüfen.
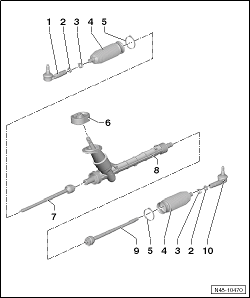
Spurstange aus- und einbauen

Benötigte Spezialwerkzeuge, Prüf- und Messgeräte sowie Hilfsmittel
Führen Sie folgende Arbeiten durch:
Ausbauen
Die Spurstangen können nur bei ausgebautem Lenkgetriebe ab- und angeschraubt werden.
- Lenkgetriebe ausbauen.
- Lenkgetriebe außen im Bereich des Faltenbalgs reinigen.
Zum Ausbau der rechten Spurstange muss die Klemm- und Schlauchschelle des linken Faltenbalgs geöffnet und der Faltenbalg zurückgeschoben werden. Für das Lösen der rechten Spurstange muss an der Schlüsselfläche der linken Zahnstange gegengehalten werden.
- Lenkgetriebe auf den Getriebehalter -T10108- spannen.
- Klemm- und Schlauchschelle öffnen und Faltenbalg zurückschieben.
- Spurstange von der Zahnstange -1- abschrauben. Dabei mit dem Schraubenschlüssel -3- an der Schlüsselfläche auf der Zahnstange gegenhalten.
Einbauen
- Faltenbalg auf Verschleiß (Schlitze, Risse) und Dichtflächen für Faltenbalg auf Sauberkeit prüfen.
- Faltenbalg auf die Spurstange schieben.

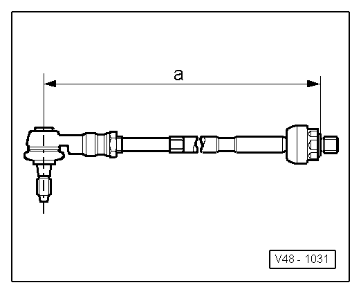
- Spurstange auf das Maß "a" prüfen und ggf. einstellen.
Maß -a- = 367 +- 1 mm
Neue Spurstangen vor dem Einbau auf das Maß "a" prüfen und ggf. einstellen.
Anschließend muss die Gesamtspur auf dem Achsmessstand geprüft und gegebenenfalls eingestellt werden, Achsvermessung.

- Spurstange an die Zahnstange -1- schrauben. Dabei mit dem Schraubenschlüssel -3- an der Schlüsselfläche auf der Zahnstange gegenhalten.
- Spurstange so drehen, dass der Zapfen des Spurstangenkopfs in Einbaulage steht.

- Faltenbalg anbauen.
- Klemmschelle mit Schlauchbinderzange -V.A.G 1275- spannen.
Nur Original Klemmschelle verwenden.
Der Faltenbalg darf auf keinen Fall verdrillt (verdreht) eingebaut sein.
- Lenkgetriebe einbauen.

Anzugsdrehmomente

Spurstangenkopf aus- und einbauen
Benötigte Spezialwerkzeuge, Prüf- und Messgeräte sowie Hilfsmittel

Führen Sie folgende Arbeiten durch:
Ausbauen
- Radschrauben lösen.
- Fahrzeug anheben.
- Rad abbauen.

- Mutter -1- lösen.
- Position des Spurstangenkopfs auf der Spurstange kennzeichnen.
- Mutter -2- vom Spurstangenkopf lösen, aber noch nicht abschrauben.
Mutter zum Schutz des Gewindes einige Umdrehungen auf dem Zapfen lassen.
- Spurstange vom Radlagergehäuse abdrücken und Mutter abschrauben.
- Spurstangenkopf von der Spurstange abdrehen.
Einbauen
Der Einbau erfolgt in umgekehrter Reihenfolge. Dabei ist Folgendes zu beachten:

- Darauf achten, dass der richtige Spurstangenkopf je Seite eingebaut wird.
- Spurstangenkopf bis zur vorher angebrachten Markierung auf die Spurstange drehen und mit der Kontermutter sichern.
- Spurstangenkopf in das Radlagergehäuse einsetzen.
- Spurstangenkopf mit neuer Mutter verschrauben.
- Räder anbauen und festziehen.
- Fahrzeug vermessen.

Anzugsdrehmomente

Lenkgetriebe einstellen
Zur Einstellung sind 2 Mechaniker erforderlich. Die Einstellung bei abgestelltem Motor vornehmen.
- Fahrzeug auf Hebebühne anheben.
- Räder in Geradeausstellung.
- Durch wechselseitiges Hin- und Herbewegen (etwa 30º um die Mittelachse) des Lenkrads wird bei zu großem Lenkungsspiel ein Klappergeräusch hörbar.
- Der zweite Mechaniker dreht dabei die Einstellschraube -1- vorsichtig so weit in den Deckel, bis sich das Klappergeräusch im Fahrzeuginnenraum verliert.
- Probefahrt durchführen. Dabei darauf achten, dass sich die Lenkung nach einer Kurvenfahrt wieder von selbst (ohne zu haken) in die Geradeausstellung zurückstellt.

- Einstellschraube -1- durch 3 Körnerschläge sichern -Pfeile-.

Lenksäule aus- und einbauen, elektrische Lenksäule, Linkslenker, up!
Benötigte Spezialwerkzeuge, Prüf- und Messgeräte sowie Hilfsmittel
Drehmomentschlüssel -V.A.G 1331-
D ...
Rad- und Reifenkombinationen
Allgemeines
Volkswagen-Fahrzeuge sind nach den neuesten Erkenntnissen der Sicherheitstechnik
konstruiert. Damit das so bleibt, empfehlen wir nur Volkswagen Original Er ...
Siehe auch:
Innenspiegel
Abb. 69 Manuell abblendbarer Innenspiegel.
Lesen und beachten Sie zuerst die einleitenden Informationen
und Sicherheitshinweise⇒Einleitung
zum Thema Der Fahrer muss den Innenspiegel immer so einstellen, dass eine
ausreichende Sicht nach hinten durch d ...