Montageübersicht - Kraftstofffördereinheit/Kraftstoffvorratsgeber
Montageübersicht - Kraftstofffördereinheit/Kraftstoffvorratsgeber, Fahrzeuge mit Überwurfmutter
Hinweis

Einbaulage des Flansches der Kraftstofffördereinheit

Montageübersicht - Kraftstofffördereinheit/Kraftstoffvorratsgeber, Fahrzeuge mit Verschlussring

Einbaulage Verschlussflansch
- Verschlussflansch gegen die Federkraft nach unten drücken und den Verschlussflansch in Einbaulage bringen.

Kraftstofffördereinheit/Kraftstoffvorratsgeber aus- und einbauen
Kraftstofffördereinheit/Kraftstoffvorratsgeber aus- und einbauen, Fahrzeuge mit Überwurfmutter
Benötigte Spezialwerkzeuge, Prüf- und Messgeräte sowie Hilfsmittel


Ausbauen
- Kraftstoffbehälter mit dem entleeren.
- Masseband der Batterie abklemmen → Elektrische Anlage.
- Rücksitzbank ausbauen → Karosserie-Montagearbeiten Innen.

- Abdeckung -1- mit dem Demontagekeil -3409- an den Halterasten ausclipsen -Pfeile-.

- Stecker -1- entriegeln und abziehen.
ACHTUNG!
Die Kraftstoffleitung steht unter Druck!
Verletzungsgefahr der Augen und der Haut durch Kraftstoff.
Schutzbrille und Schutzbekleidung tragen, um Verletzungen und Hautkontakt zu vermeiden. Vor dem Lösen von Schlauchverbindungen Putzlappen um die Verbindungsstelle legen. Dann durch vorsichtiges Öffnen der Verbindungsstelle Druck abbauen.
- Kraftstoffleitungen -2- von der Kraftstofffördereinheit -3- entriegeln und abziehen. Steckkupplungen trennen.

- Überwurfmutter mit dem Schlüssel für Überwurfmutter -3217- öffnen.

- Verschlussflansch aus der Öffnung des Kraftstoffbehälters herausziehen.
- Dichtring aus der Öffnung des Kraftstoffbehälters abnehmen.
- Lappen zum Auffangen von Kraftstoff unterlegen
- Kraftstofffördereinheit -1- mit Geber für Kraftstoffvorratsanzeige vorsichtig durch die Einbauöffnung des Kraftstoffbehälters herausziehen.
- Beim Herausnehmen der Kraftstofffördereinheit darauf achten, dass der Schwimmerarm des Gebers für Kraftstoffvorratsanzeige -G- nicht verbogen wird.
- Kraftstoffbehälter auf Verunreinigungen prüfen.
Hinweis
Einbauen
Der Einbau erfolgt in umgekehrter Reihenfolge. Dabei ist Folgendes zu beachten:
- Dichtring ersetzen.
- Dichtring der Kraftstofffördereinheit trocken in die Öffnung des Kraftstoffbehälters einsetzen.
- Dichtring auf der Innenseite mit Kraftstoff benetzen.
- Beim Einsetzen der Kraftstofffördereinheit darauf achten, dass der Geber für die Kraftstoffvorratsanzeige nicht verbogen wird.

- Verschlussflansch -1- gegen die Federkraft nach unten drücken.
- Den Verschlussflansch in Einbaulage bringen.
- Überwurfmutter festziehen.

- Stecker -1- aufstecken.
- Kraftstoffleitung -2- aufstecken.
- Den festen Sitz der Steckkupplung und des Steckers durch Gegenziehen prüfen!
Anzugsdrehmoment

Kraftstofffördereinheit/Kraftstoffvorratsgeber aus- und einbauen, Fahrzeuge mit Verschlussring
Benötigte Spezialwerkzeuge, Prüf- und Messgeräte sowie Hilfsmittel


Ausbauen
- Kraftstoffbehälter mit dem entleeren.
- Masseband der Batterie abklemmen → Elektrische Anlage.
- Rücksitzbank ausbauen → Karosserie-Montagearbeiten Innen.

- Abdeckung -1- mit dem Demontagekeil -3409- an den Halterasten ausclipsen -Pfeile-.

- Stecker -1- entriegeln und abziehen.
ACHTUNG!
Die Kraftstoffleitung steht unter Druck!
Verletzungsgefahr der Augen und der Haut durch Kraftstoff.
Schutzbrille und Schutzbekleidung tragen, um Verletzungen und Hautkontakt zu vermeiden. Vor dem Lösen von Schlauchverbindungen Putzlappen um die Verbindungsstelle legen. Dann durch vorsichtiges Öffnen der Verbindungsstelle Druck abbauen.
- Kraftstoffleitungen -2- von der Kraftstofffördereinheit -3- entriegeln und abziehen. Steckkupplungen trennen.

- Verschlussring mit dem Schlüssel -T10202- öffnen und den Flansch etwas anheben.

- Verschlussflansch aus der Öffnung des Kraftstoffbehälters herausziehen.
- Dichtring aus der Öffnung des Kraftstoffbehälters abnehmen.
- Lappen zum Auffangen von Kraftstoff unterlegen
- Kraftstofffördereinheit -1- mit Geber für Kraftstoffvorratsanzeige vorsichtig durch die Einbauöffnung des Kraftstoffbehälters herausziehen.
- Beim Herausnehmen der Kraftstofffördereinheit darauf achten, dass der Schwimmerarm des Gebers für Kraftstoffvorratsanzeige -G- nicht verbogen wird.
- Kraftstoffbehälter auf Verunreinigungen prüfen.
Hinweis
Einbauen
Der Einbau erfolgt in umgekehrter Reihenfolge. Dabei ist Folgendes zu beachten:
- Dichtring ersetzen.
- Dichtring der Kraftstofffördereinheit trocken in die Öffnung des Kraftstoffbehälters einsetzen.
- Dichtring auf der Innenseite mit Kraftstoff benetzen.
- Beim Einsetzen der Kraftstofffördereinheit darauf achten, dass der Geber für die Kraftstoffvorratsanzeige nicht verbogen wird.

- Verschlussflansch gegen die Federkraft nach unten drücken und den Verschlussflansch in Einbaulage bringen.

- Stecker -1- aufstecken.
- Kraftstoffleitung -2- aufstecken.
- Den festen Sitz der Steckkupplung und des Steckers durch Gegenziehen prüfen!
Anzugsdrehmoment

Geber für Kraftstoffvorratsanzeige aus- und einbauen
Ausbauen
- Sicherheitsmaßnahmen beachten.
- Sauberkeitsregeln beachten.
- Kraftstofffördereinheit ausbauen.
- Geber für Kraftstoffvorratsanzeige -G- etwas zur Seite und gleichzeitig nach oben ziehen.

- Rastnasen -Pfeile- nach innen entriegeln.
- Geber für Kraftstoffvorratsanzeige -G- nach oben aus der Kraftstofffördereinheit ziehen.
- Farbzuordnung der Kabel für den Wiedereinbau notieren.

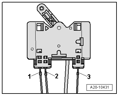
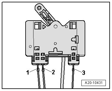
- Steckverbindungen -1- bis -3- entriegeln und abziehen.
- Rasthaken der Stecker zurückbiegen.

Einbauen:
- Stecker -1- bis -3- anstecken.
- Farbzuordnung beachten.
- Den festen Sitz der Stecker durch Gegenziehen prüfen!
- Geber für Kraftstoffvorratsanzeige -G- in die Führung an der Kraftstofffördereinheit einsetzen und bis zum Einrasten nach unten drücken.
- Kraftstofffördereinheit einbauen.

Montageübersicht - Kraftstoffbehälter
Verschlussdeckel
bei Beschädigung ersetzen
Masseleitung
Schraube
8 Nm +90º
2 Stück
ersetzen
Einfüllstutzen
Entlüftu ...
Steckkupplungen trennen
Benötigte Spezialwerkzeuge, Prüf- und Messgeräte sowie Hilfsmittel
Hebel -T10468-
Zuordnung der Steckkupplungen
Hinweis
Die Steckkupplungen für Kraf ...
Siehe auch:
Sich selbst und das Fahrzeug absichern
Abb. 139 Im oberen Teil der Mittelkonsole:
Taste zum Ein- und Ausschalten der Warnblinkanlage.
Lesen und beachten Sie zuerst die einleitenden Informationen
und Sicherheitshinweise⇒Einleitung
zum Thema Gesetzliche Bestimmungen zum Absichern eines liege ...