Feststellbremse einstellen
Die Neueinstellung ist nur bei Ersatz der Bremsseile, der Bremsträger oder nach dem Ersetzen der Bremsbeläge erforderlich.
- Mittelkonsole ausbauen → Karosserie-Montagearbeiten Innen.
- Die Fußbremse muss funktionsfähig und entlüftet sein.
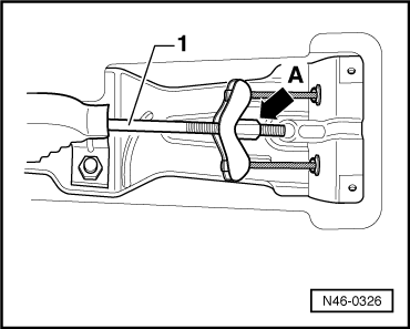
- Bremsseile mit der Nachstellmutter -Pfeil A- lösen.
- Fußbremse dreimal kräftig betätigen.
- Bremsseile mit der Nachstellmutter -Pfeil A- so weit vorspannen, bis sich der Handbremshebel in der Grundstellung selbstständig ablegt (siehe Hinweis).
Hinweis
Den Handbremshebel in der Grundstellung bis kurz vor dem ersten Zahn anziehen. Den Handbremshebel loslassen. Der Handbremshebel muss selbstständig auf die Anlage zurückgehen.
- Handbremshebel 2 Zähne anziehen.
- Nachstellmutter -Pfeil A- so weit anziehen, bis sich beide Räder von Hand nicht durchdrehen lassen.
Die Nachstellmutter -Pfeil A- muss über das Ende der Zugstange -1- geschraubt sein.
- Feststellbremse lösen und prüfen, ob beide Räder frei durchdrehen. Wenn nötig, Nachstellmuttern etwas zurückdrehen.
- Mittelkonsole einbauen → Karosserie-Montagearbeiten Innen.
Nach der Neueinstellung ist durch die automatische Nachstellung der Hinterradbremse ein Nachstellen der Feststellbremse nicht mehr erforderlich.

Bremsseil hinten aus- und einbauen
Ausbauen:
- Mittelkonsole ausbauen → Karosserie-Montagearbeiten Innen.
- Feststellbremse lösen.
- Lösen Sie die Nachstellmutter -Pfeil- so weit, bis das Bremsseil aus dem Ausgleichsbügel ausgehängt werden kann.
- Fahrzeug anheben.
- Rad abbauen.
- Bremstrommel ausbauen, vorher die Bremse zurückstellen.

- Das Bremsseil aus dem Feststellbremshebel aushängen.
- Das Bremsseil aus dem Bremsträger ziehen.

- Das Bremsseil -1- aus der Halterung am Hinterachskörper -Pfeil- ausclipsen.

- Das Bremsseil aus den Halterungen -Pfeile- aushängen.

- Das Bremsseil -1- in Pfeilrichtung aus dem Führungsrohr -2- ziehen.
Einbauen:

- Das Bremsseil -1- in Pfeilrichtung in das Führungsrohr -2- schieben.
- Das Bremsseil in den Bremsträger einführen.

- Das Bremsseil in den Feststellbremshebel einhängen.
- Die Bremstrommel anbauen.

- Das Bremsseil -1- in die Halterung am Hinterachskörper -Pfeil- einclipsen.
- Der Klemmring am Bremsseil muss in der Mitte des Clips liegen.

- Das Bremsseil in die Halterungen -Pfeile- einhängen.
- Das Bremsseil durch das Führungsrohr schieben.
- Das Bremsseil in den Ausgleichsbügel einhängen.

- Das Bremsseil mit der Nachstellmutter -Pfeil- vorspannen.
- Räder montieren.
Anzugsdrehmoment der Radschrauben → Fahrwerk, Achsen, Lenkung.
- Feststellbremse einstellen.
- Mittelkonsole einbauen → Karosserie-Montagearbeiten Innen.

Montageübersicht - Feststellbremse

Druckknopf abziehen
Hinweis
Wird beim Abziehen zerstört, muss ersetzt werden.

Lagerbock aus- und einbauen
Fußhebelwerk aus- und einbauen, Linkslenker
Ausbauen:
- Die Schrauben -1- abschrauben und Fußraumverkleidung -2- herausnehmen.
- Den Stecker vom Geber fü ...
Bremsbacken aus- und einbauen
Benötigte Spezialwerkzeuge, Prüf- und Messgeräte sowie Hilfsmittel
Haken -3438-
Nach Arbeiten an der Hinterradbremse:
Feststellbremse lösen.
Bremspedal ...
Siehe auch:
Reparatur von Leitungssträngen
Hinweis
Beachten Sie die allgemeinen Hinweise zur Reparatur an der Fahrzeugelektrik
Hinweise zur Reparatur von Airbag- und Gurtstrafferleitungen
Ergänzend zu der allgemeinen Reparatur von Leitungssträngen sind bei der Reparatur
von Leitungen des Airb ...