Hinweise zum Entriegeln und Zerlegen von Kontaktgehäusen
Hinweis
Die Zuordnung der richtigen Entriegelungswerkzeuge zu den jeweiligen Verriegelungen können Sie der Tabelle in der → Bedienungsanleitung des VAS 1978/35 entnehmen.
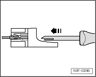
Sekundärverriegelung
Die Sekundärverriegelung ist eine Gehäusesicherung (Zweitverriegelung), die alle Leitungen in einem Kontaktgehäuse sichert. Ist an einem Kontaktgehäuse eine Sekundärverriegelung vorhanden, muss diese immer vor dem Entriegeln und Ausziehen einzelner Crimpkontakte mit dem vorgeschriebenen Werkzeug geöffnet oder entfernt werden.
Die Sekundärverriegelung unterscheidet sich farblich vom Rest des Kontaktgehäuses. Das vereinfacht das Erkennen der Sekundärverriegelung und verdeutlicht deren Funktionsweise.
Die hier dargestellten Formen von Kontaktgehäusen sind nur eine Auswahl, die beispielhaft die unterschiedlichen Funktionsweisen der Sekundärverriegelungen deutlich machen soll.
Beispiel 1:
Die Gehäusesicherung wird durch Entfernen eines "Kamms"-Pfeil- entriegelt.

Beispiel 2:
Durch das Öffnen einer "Klappe"-Pfeil- wird die Gehäusesicherung entriegelt.

Beispiel 3:
Die Gehäusesicherung kann durch das Entrasten eines "Schiebers"-Pfeil- entriegelt werden.

Primärverriegelung
Die Primärverriegelung ist die Verrastung eines einzelnen Crimpkontakts im Kontaktgehäuse.
Gegebenenfalls vorhandene Gehäusesicherungen (Sekundärverriegelungen) müssen vor dem Entriegeln der Kontakte mit dem vorgeschriebenen Werkzeug entriegelt oder entfernt werden.
Die folgend dargestellten Formen von Primärverriegelungen sind nur eine Auswahl, die beispielhaft die unterschiedlichen Funktionsweisen der Primärverriegelungen deutlich machen sollen.
Die Zuordnung des richtigen Entriegelungswerkzeugs zur jeweiligen Verriegelung können Sie der Tabelle in der → Bedienungsanleitung des VAS 1978/35 entnehmen.
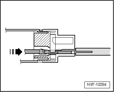
Rundstecksysteme
Hinweis
Gegebenenfalls vorhandene Gehäusesicherungen (Sekundärverriegelungen) müssen vor dem Entriegeln der Kontakte mit dem vorgeschriebenen Werkzeug entriegelt oder entfernt werden.
- Führen Sie das zum Kontaktgehäuse passende Entriegelungswerkzeug in den Entriegelungskanal am Kontaktgehäuse ein.
- Greifen Sie den Kontakt an der Leitung und drücken Sie ihn leicht in das Kontaktgehäuse hinein -Pfeil-.
Hinweis
Durch das Drücken des Kontakts in Richtung Kontaktgehäuse werden die Rastzungen des Kontakts von der Gehäuseschulter abgehoben und mit dem Entriegelungswerkzeug entriegelt werden.
- Drücken Sie zeitgleich das Entriegelungswerkzeug in Richtung Kontaktgehäuse -Pfeil- und ziehen Sie den entriegelten Kontakt aus dem Kontaktgehäuse heraus.

- Das Entriegelungswerkzeug kann nach Entnahme des Kontakts wieder aus dem Kontaktgehäuse gezogen werden.

Flachstecksysteme
Hinweis
Gegebenenfalls vorhandene Gehäusesicherungen (Sekundärverriegelungen) müssen vor dem Entriegeln der Kontakte mit dem vorgeschriebenen Werkzeug entriegelt oder entfernt werden.
Flachstecksystem mit einer Rastzunge:
- Führen Sie das zum Kontaktgehäuse passende Entriegelungswerkzeug in den Entriegelungskanal am Kontaktgehäuse ein.
- Greifen Sie den Kontakt an der Leitung und drücken Sie ihn leicht in das Kontaktgehäuse hinein -Pfeil-.
Hinweis
Durch das Drücken des Kontakts in Richtung Kontaktgehäuse wird die Rastzunge des Kontakts von der Gehäuseschulter abgehoben und kann mit dem Entriegelungswerkzeug entriegelt werden.

- Drücken Sie zeitgleich das Entriegelungswerkzeug in Richtung Kontaktgehäuse und ziehen Sie den entriegelten Kontakt aus dem Kontaktgehäuse heraus -Pfeil-.
- Das Entriegelungswerkzeug kann nach Entnahme des Kontakts wieder aus dem Kontaktgehäuse gezogen werden.

Flachstecksystem mit zwei Rastzungen:
- Führen Sie das zum Kontaktgehäuse passende Entriegelungswerkzeug in den Entriegelungskanal am Kontaktgehäuse ein.
- Greifen Sie den Kontakt an der Leitung und drücken Sie ihn bis zum Anschlag in das Kontaktgehäuse hinein -Pfeil-.
Hinweis
Durch das Drücken des Kontakts in Richtung Kontaktgehäuse werden die Rastzungen des Kontakts von der Gehäuseschulter abgehoben und mit dem Entriegelungswerkzeug entriegelt werden.

- Drücken Sie zeitgleich das Entriegelungswerkzeug in Richtung Kontaktgehäuse und ziehen Sie den entriegelten Kontakt aus dem Kontaktgehäuse heraus -Pfeil-.
- Das Entriegelungswerkzeug kann nach Entnahme des Kontakts wieder aus dem Kontaktgehäuse gezogen werden.

Asymmetrisch:
- Führen Sie das zum Kontaktgehäuse passende Entriegelungswerkzeug in den Entriegelungskanal am Kontaktgehäuse ein.
- Greifen Sie den Kontakt an der Leitung und drücken Sie ihn leicht in das Kontaktgehäuse hinein -Pfeil-.
Hinweis
Durch das Drücken des Kontakts in Richtung Kontaktgehäuse werden die Rastzungen des Kontakts von der Gehäuseschulter abgehoben und mit dem Entriegelungswerkzeug entriegelt werden.

- Drücken Sie zeitgleich das Entriegelungswerkzeug in Richtung Kontaktgehäuse und ziehen Sie den entriegelten Kontakt aus dem Kontaktgehäuse heraus -Pfeil-.
- Das Entriegelungswerkzeug kann nach Entnahme des Kontakts wieder aus dem Kontaktgehäuse gezogen werden.

Spezielle Stecksysteme
Hinweis
Gegebenenfalls vorhandene Gehäusesicherungen (Sekundärverriegelungen) müssen vor dem Entriegeln der Kontakte mit dem vorgeschriebenen Werkzeug entriegelt oder entfernt werden.
Faston-Kontakte:
- Führen Sie das zum Kontaktgehäuse passende Entriegelungswerkzeug in den Entriegelungskanal am Kontaktgehäuse ein.
- Greifen Sie den Kontakt an der Leitung und drücken Sie ihn leicht in das Kontaktgehäuse hinein.
Hinweis
Durch das Drücken des Kontakts in Richtung Kontaktgehäuse werden die Rastzungen des Kontakts von der Gehäuseschulter abgehoben und mit dem Entriegelungswerkzeug entriegelt werden.

- Drücken Sie zeitgleich das Entriegelungswerkzeug in Richtung Kontaktgehäuse und ziehen Sie den entriegelten Kontakt aus dem Kontaktgehäuse heraus -Pfeil-.
- Das Entriegelungswerkzeug kann nach Entnahme des Kontakts wieder aus dem Kontaktgehäuse gezogen werden.

GT 150/280 Kontakte:
- Führen Sie das zum Kontaktgehäuse passende Entriegelungswerkzeug unter der Rastzunge in das Kontaktgehäuse ein.
- Drücken Sie das Werkzeug bis zum Anschlag -Pfeil- in das Kontaktgehäuse ein.

Der Kontakt wird aus dem Kontaktgehäuse ausgeworfen.
- Das Entriegelungswerkzeug kann nach dem Auswurf des Kontakts wieder aus dem Kontaktgehäuse gezogen werden.

Kontakte ohne Rastzungen:
- Stecken Sie das Entriegelungswerkzeug unter die Rastzunge des Kontaktgehäuses.
- Drücken Sie das Entriegelungswerkzeug unter leichtem Anheben -Pfeil- bis zum Anschlag durch.

Der Kontakt wird aus dem Kontaktgehäuse ausgeworfen.

Hinweise zur Reparatur von Kontaktgehäusen und Steckverbindungen
Hinweis
Beachten Sie die allgemeinen Hinweise zur Reparatur an der Fahrzeugelektrik.
Die Zuordnung der passenden Cri ...
Anwendung vom Reparaturkoffer -VAS 6410-
Der Reparaturkoffer -VAS 6410- ermöglicht eine optimale Reparaturqualität im
Bereich der Fahrzeugelektrik. Mit den Werkzeugen können Instandsetzungsarbei ...
Siehe auch:
Radmontage
Rad montieren
Rad montieren, Montagehinweise Volkswagen
Fahrzeuge mit Sensor für Reifendruck
Werden die Räder gewechselt (z. B. Wechsel von Sommer- auf Winterreifen), so
senden die Radelektroniken Daten, sobald die Geschwindigkeit der neuen Räder mehr
als 25km ...