Montageübersicht - Schalldämpfer

Abgasrohre/Schalldämpfer trennen
Hinweis
Benötigte Spezialwerkzeuge, Prüf- und Messgeräte sowie Hilfsmittel


VerletzungsgefahrUm Verletzungen durch Metallspäne zu vermeiden, Schutzbrille und Schutzbekleidung tragen.

Trennstelle am Vorschalldämpfer
- Abgasrohr an der mittleren Trennstelle -Pfeil oben- z. B. mit Karosseriesäge -V.A.G 1523A- oder Kettenrohrabschneider -VAS 6254- rechtwinklig trennen.
- Reparaturdoppelschelle mittig zwischen den äußeren Markierungen -Pfeile unten- positionieren.
- Die Einbaulage der Klemmschelle beachten "Einbaulage Klemmhülse".
Trennstelle am Abgasendrohr
- Abgasrohr an der mittleren Trennstelle -Pfeil rechts- z. B. mit Karosseriesäge -V.A.G 1523A- oder Kettenrohrabschneider -VAS 6254- rechtwinklig trennen.

- Reparaturdoppelschelle mittig zwischen den äußeren Markierungen -Pfeile links- positionieren.
- Die Einbaulage der Klemmschelle beachten "Einbaulage Klemmhülse".

Schalldämpfer aus- und einbauen
Benötigte Spezialwerkzeuge, Prüf- und Messgeräte sowie Hilfsmittel
Ausbauen
- Falls notwendig, Abgasanlage trennen "Abgasrohre/Schalldämpfer trennen".

- Falls vorhanden, Klemmhülse lösen -Pfeile-.

- Querstrebe -1- am Unterboden -2- abbauen.
- Muttern -Pfeile- abschrauben.

- Halter -1- hinten für die Abgasanlage -2- abbauen.
- Schraube -Pfeil- herausdrehen.
Hinweis
Zum Abnehmen des Schalldämpfers wird ein zweiter Mechaniker benötigt.
- Schalldämpfer abnehmen.
Einbauen
Der Einbau erfolgt in umgekehrter Reihenfolge. Dabei ist Folgendes zu beachten:
Einbaulage der Klemmhülse beachten "Einbaulage Klemmhülse".
Hinweis

Anzugsdrehmoment:

Abgasanlage auf Dichtigkeit prüfen
Arbeitsablauf
- Motor starten und im Leerlauf drehen lassen.
- Abgasendrohre für die Dauer der Dichtigkeitsprüfung beispielsweise mit Lappen oder Stöpseln verschließen.
- Verbindungsstellen Abgaskrümmer an Zylinderkopf, Abgasturbolader an Abgasvorrohr usw. durch Abhören auf Dichtigkeit prüfen.
- Festgestellte Undichtigkeiten beseitigen.
Einbaulage Klemmhülse
Hinweis
Einsatz der Klemmhülsen mit durchgehender Schelle beachten.
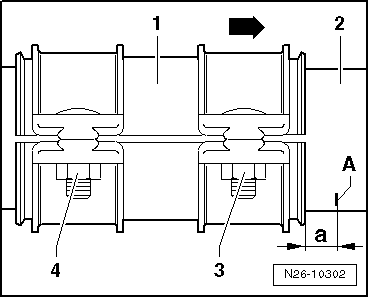
Anzugsdrehmoment und Einbaumaß der Klemmhülse
Klemmhülse -A- mit 2 einzelnen Schellen.
Klemmhülse -B- mit durchgehender Schelle.

Einbaumaß -a- für Fahrzeuge mit Markierung -A- auf dem Abgasvorrohr

Einbaulage der Klemmhülse vorn
- Klemmhülse so einbauen, dass das Schraubenende -Pfeil- nicht über die Unterkante der Klemmhülse hinausragt.

Einbaulage der Klemmhülse hinten

- Die Klemmhülse ist so einzubauen, dass die Markierungen auf dem Abgasrohr -Pfeile- mit den Enden der Klemmhülse fluchten.

Montageübersicht - Abgasreinigung
Montageübersicht - Abgasreinigung, Fahrzeuge mit motornaher Abgasreinigung
Motor
Dichtung
nach Demontage ersetzen
Lambdasonde -G39-
Nur das ...
Siehe auch:
Hydrauliksystem
Dichtigkeitsprüfung
Benötigte Spezialwerkzeuge, Prüf- und Messgeräte sowie Hilfsmittel
Prüfgerät für Bremssysteme -V.A.G 1310 A-
Adapter M 10 -V.A.G 1310/6-
Prüfvoraussetzung:
Funktion und Dichtigkeit der Bremsanlage (Hydraulikeinheit für ABS -N55- , ...